Note-A-Rific:
Induction
So far we know that electricity and magnetism are related in
at least two ways:
- An
electric current produces a magnetic field.
- A
magnetic field exerts a force on moving electric charges.
Both of these facts were
discovered between 1820-1821.
·
Because of this, scientists began to wonder if a
magnetic field could be used in some way to produce an electric current.
- By
1831 the American Joseph Henry and the Englishman Michael Faraday
independently showed it could happen.
- Henry
discovered it first, but Faraday published his results first.
- One
of the “rules” in science is that it doesn’t matter who actually
discovered something first, it matters who got published in a scientific
journal first.
- It
sort of counts as being “registered” as the creator of that idea.
- You’ve
probably never seen one of these scientific journals, since they are read
mostly by people like university professors.
The design Faraday came up with was like this…
When the switch on the battery is closed:
- Current
will flow through the battery.
- Since
it is wrapped around an iron ring, this wire will act as an electromagnet.
- Faraday
(hoped) that the magnetic field in the iron ring would go all the way
around to the other loops of wire and create an electrical current that he
could measure on his ammeter.
Faraday never saw the needle move on the ammeter when he
ran a steady current from the battery.
- He did notice that when he first switched the battery on, the
needle went one way for a moment.
- The needle went the other way for a moment when the battery was
shut off.
- Faraday figured out that a changing
magnetic field could produce a current.
- Such a current is called an induced current.
Faraday performed other
experiments on electromagnetic induction (the name of this process).
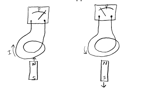
- As the following diagrams show, as a magnet is moved quickly
into or out of a coil of wire, a current is induced.
- This showed that it is a changing magnetic field that
was creating the current, since the magnetic field would get stronger as
the magnet was shoved in, and weaker as it was pulled out.
- This might sound like your creating energy out of
nothing.
- That would break the laws of thermodynamics.
- Instead, you have to remember that you need to use
some source of energy (like your muscles!) to move that magnet in and out
of the coil of wire.
- You actually do feel resistance as you try to do this
when current flows in the wires.
You can also generate electricity if you push a length of
wire through a magnetic field, so that the wire is moved perpendicular to the
magnetic field.
·
Use the 3rd left hand rule (force on
negative moving charges) to figure out the induced electron flow current in the
wire.
- Fingers
point north to south in the direction of the magnetic field as always.
- Your
thumb points in direction of wire’s motion, since that is the direction
that the electrons that are in the wire are moving.
- Your
palm points in direction of the force acting on those charges, which
tells you which way they are going to be pushed... the direction of the
current flow!
Example: Using the
following diagram, determine which way the current is flowing.

The magnetic field is pointing into the page,
so my fingers point into the page.
The wire is moving downwards, so my thumb
points down.
My palm is facing left, so the electrons will
experience a force pushing them to the left. The electron flow current is to
the left.